КОСМОДРОМ - Электронные компоненты для разработки и производства - Харьков - Украина
|
Уважаемые покупатели. Обратите внимание на наш график работы - 13 апреля 2026 года - выходной день. Далее работаем по графику. |
|
 |
ATmega128, ATmega128L
8-разрядные микроконтроллеры со 128 Кбайтами внутрисистемно программируемой Flash памяти
Отличительные особенности:
- 8-разрядный высокопроизводительный AVR микроконтроллер с малым потреблением
- Прогрессивная RISC архитектура
133 высокопроизводительные команды, большинство команд выполняется за один тактовый цикл
32 8-разрядных рабочих регистра общего назначения + регистры управления периферией
Полностью статическая работа
Производительность приближающаяся к 16 MIPS (при тактовой частоте 16 МГц)
Встроенный 2-цикловый перемножитель
- Энергонезависимая память программ и данных
128 Кбайт внутрисистемно перепрограммируемой Flash памяти
Обеспечивает 1000 циклов стирания/записи
Дополнительный сектор загрузочных кодов с независимыми битами блокировки
Внутрисистемное программирование встроенной программой загрузки
Обеспечен режим одновременного чтения/записи (Read-While-Write)
4 Кбайта EEPROM
Обеспечивает 100000 циклов стирания/записи
4 Кбайта встроенной SRAM
До 64 Кбайтов пространства дополнительной внешней памяти
Программируемая блокировка, обеспечивающая защиту программных средств пользователя
SPI интерфейс для внутрисистемного программирования
- Интерфейс JTAG (совместимый с IEEE 1149.1)
Возможность сканирования периферии, соответствующая стандарту JTAG
Расширенная поддержка встроенной отладки
Программирование через JTAG интерфейс: Flash, EEPROM памяти, перемычек и битов блокировки
- Встроенная периферия
Два 8-разрядных таймера/счетчика с отдельным предварительным делителем, один с режимом сравнения
Два 16-разрядных таймера/счетчика, с расширенными возможностями, с отдельным предварительным делителем и режимами захвата и сравнения
Счетчик реального времени с отдельным генератором
Два 8-разрядных канала PWM
Шесть каналов PWM с возможностью программирования разрешения от 1 до 16 разрядов
8-канальный 10-разрядный аналого-цифровой преобразователь
8 несимметричных каналов
7 дифференциальных каналов
2 дифференциальных канала с программируемым усилением в 1, 10 или 200 крат
Байт-ориентированный 2-проводный последовательный интерфейс
Сдвоенный программируемый последовательный USART
Последовательный интерфейс SPI (ведущий/ведомый)
Программируемый сторожевой таймер с отдельным встроенным генератором
Встроенный аналоговый компаратор
- Специальные микроконтроллерные функции
Сброс по подаче питания и программируемый детектор кратковременного снижения напряжения питания
Встроенный калиброванный RC-генератор
Внутренние и внешние источники прерываний
Шесть режимов пониженного потребления: Idle, Power-save, Power-down, Standby, Extended Standby и снижения шумов ADC
Программная установка тактовой частоты
Режим обеспечения совместимости с ATmega103 (перемычки)
Глобальный запрет подтягивающих резисторов
- Выводы I/O и корпуса
53 программируемые линии ввода/вывода
64-выводной корпус TQFP
- Рабочие напряжения
2,7 - 5,5 В (ATmega128L)
4,5 - 5,5 В (ATmega128)
- Рабочая частота
0 - 8 МГц (ATmega128L)
0 - 16 МГц (ATmega128)
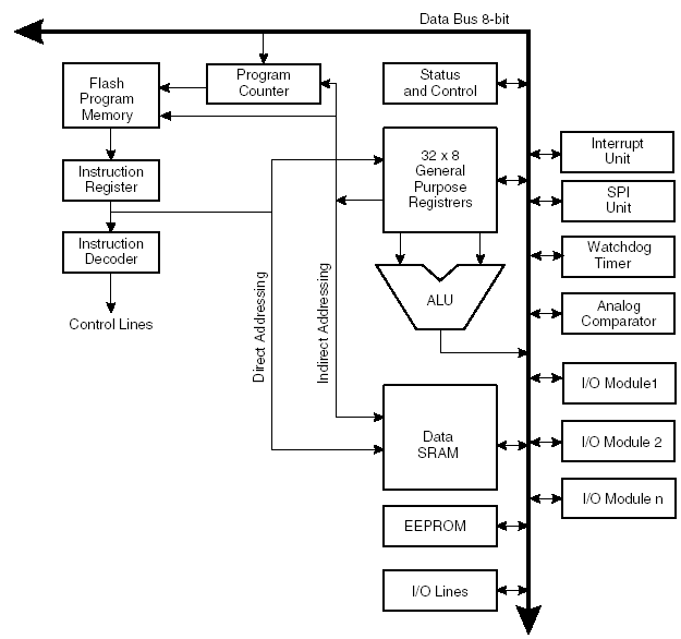
Блок- схема:
Расположение выводов:
|
|
Поставляемые компоненты










|
^ Наверх DIV >
радиошоп, radioshop, радио, радиодетали, микросхемы, интернет, завод,
комплектующие, компоненты, микросхемы жки индикаторы светодиоды семисегментные датчики влажности преобразователи
источники питания тиристор симистор драйвер транзистор, диод, книга, приложение,
аудио, видео, аппаратура, ремонт, антенны, почта, заказ, магазин,
интернет - магазин, товары-почтой, почтовые услуги, товары, почтой, товары
почтой, каталог, магазин, Internet shop, база данных, инструменты, компоненты,
украина, харьков, фирма Космодром kosmodrom поставщики электронных компонентов дюралайт edison opto светодиодное освещение Интернет-магазин радиодеталей г.Харьков CREE ATMEL ANALOG DEVICES АЦП ЦАП