ATmega8535, ATmega8535L
8- битный AVR® микроконтроллер c 8 Кбайт FLASH памятью программ.
Отличительные особенности:
- Высокая производительность при малом потреблении
- Разввитая RISC архитектура
130- команд, большинство исполняемых за один машинный такт
32x8 рабочих регистра общего назначения
Полностью статический режим
До 16 MIPS производительность при 16 МГц
Встроенный 2-х тактный умножитель
- Энергонезависимая память программ и память данных
8К байтов FLASH памяти программ с внутрисистемным самопрограммированием
10 000 циклов записи- стирания
Загрузочная область памяти с независимыми ключевыми битами
512 байтов EEPROM
100 000 циклов записи- стирания
512 байтов внутренней SRAM
Программируемый ключ доступа к программам и памяти данных
- Периферия
Два 8- битных таймера/счётчика с программируемым предделителем и режимом сравнения
Один 16 битный таймер/ счётчик с программируемым предделителем, режимом сравнения и захвата
Счётчик реального времени с программируемым генератором
Четыре ШИМ генератора
8 канальный, 10- битный АЦП
8 простых униполярных входа
7 дифференциальных входа ( только для TQFP)
2 дифференциальных входа с программируемым усилением (x1, x10, x200) (только для TQFP)
Байт ориентированный двухпроводный интерфейс
Программированный последовательный USART
Master/Slave SPI
Встроенный аналоговый компаратор
Программируемый Watchdog с переключаемымим генераторами
Специальные функции контроллера.
Reset при включении и понижении напряжения питания
Внешние и внутренние источники прерывания
Внутренний калиброванный RC генератор
Шесть режимов энергосбережения: Idle, подавление шума АЦП, экономичный, Выкл. , ожидания и расширенный режим ожидания
- 40- выводной корпус PDIP, 44-выводной TQFP, 44-х PLCC, и 44-х MLF.
- 32 программируемых входа-выхода
- Рабочее напряжение питания:
2.7 В до 5.5 В ATmega8535L
4.5 В до 5.5 В ATmega8535
- Рабочая тактовая частота:
0- 8 МГц ATmega8535L
0-16 МГЦ ATmega8535
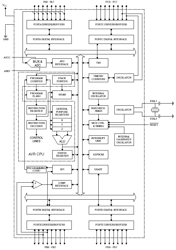
Блок- схема ATmega161:

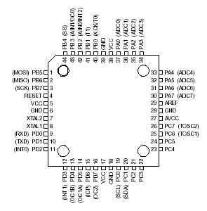
Расположение выводов:
  
Описание:
ATmega8535/L является КМОП 8- битным микроконтроллером, построенным на расширенной AVR RISC архитектуре. Используя команды исполняемые за один машинный такт, контроллер достигает производительности в 1 MIPS на рабочей частоте 1 МГц, что позволяет разработчику эффективно оптимизировать потребление энергии за счёт выбора оптимальной производительности.
AVR ядро сочетает расширенный набор команд с 32 рабочими регистрами общего назначения. Все 32 регистра соединены с АЛУ, что обеспечивает доступ к двум независимым регистрам на время исполнения команды за один машинный такт. Благодаря выбранной архитектуре достигнута наивысшая скорость кода и соответственно высокая производительность в 10 раз превосходящая скорость соответствующего CISC микроконтроллера.
ATmega8535/L содержит: 8К байт внутрисистеммно программируемой FLASH памяти программ с возможностью чтения в процессе записи, 512 байтов EEPROM, 512 байтов SRAM, 32 входа-выхода общего назначения, 32 рабочих регистра, три гибких таймера/счётчика с режимом сравнения, внешние и внутренние прерывания, последовательный программируемый USART, байт ориентированный последоаптельный двухпроводный интерфейс, 8- канальный, 10- битный АЦП с дополнительным программируемым дифференциальным усилителем ( для TQFP корпуса), программируемый Watchdog таймер с внутренним генератором, последовательный SPI порт, и шесть, выбираемых программно, режимов сбережения энергии.
В режиме Idle ЦПУ не функционирует в то время как функционируют SRAM, таймеры/счётчики, SPI порт и система прерываний. В ATmega8535 существует специальный режим подавления шума АЦП, при этом в целом в спящем режиме функционирует только АЦП и асинхронный таймер для исключения цифровых шумов в процессе преобразования АЦП. В режиме Выкл. процессор сохраняет содержимое всех регистров, замораживает генератор тактовых сигналов, приостанавливает все другие функции кристалла до прихода внешнего прерывания или поступления внешней команды Reset. В режиме ожидания работает генератор тактовых частот вто время как остальные блоки находятся в спящем режиме. Быстрый переход в нормальный режим работы обеспечивает малое потребление энергии. В расширенном режиме ожидания в рабочем состоянии находятся основной генератор и асинхронный таймер.
Микросхемы выпускаются при использовании Atmel технологии энергонезависимой памяти высокой плотности. Встроенная ISP FLASH позволяет перепрграммировать память программ внутрисистеммно через последовательный SPI интерфейс стандартным программатором энергонезависимой памяти, или встроенной загрузочной программой работающей в ядре ЦПУ. Загрузочная программа может использовать любой интерфейс для экспорта рабочей программы во FLASH память.
Комбинация расширенной 8- и битной RISC архитектуры ЦПУ и твёрдотельной FLASH памяти обеспечивают ATmega8535 высокую гибкость и экономическую эффективность во встраиваемых системах управления. |