|
ATtiny2313 8 битный AVR микроконтроллер с 2 КБ программируемой в системе Flash памяти
Характеристики:
- AVR RISC архитектура
- AVR - высококачественная и низкопотребляющая RISC архитектура
120 команд, большинство которых выполняется за один тактовый цикл
32 8 битных рабочих регистра общего применения
Полностью статическая архитектура
- ОЗУ и энергонезависимая память программ и данных
2 КБ самопрограммируемой в системе Flash памяти программы, способной выдержать 10 000 циклов записи/стирания
128 Байт программируемой в системе EEPROM памяти данных, способной выдержать 100 000 циклов записи/стирания
128 Байт встроенной SRAM памяти (статическое ОЗУ)
Программируемая защита от считывания Flash памяти программы и EEPROM памяти данных
- Характеристики периферии
Один 8- разрядный таймер/счетчик с отдельным предделителем
Один 16-разрядный таймер/счетчик с отдельным предделителем, схемой сравнения, схемой захвата и двумя каналами ШИМ
Встроенный аналоговый компаратор
Программируемый сторожевой таймер со встроенным генератором
USI - универсальный последовательный интерфейс
Полнодуплексный UART
- Специальные характеристики микроконтроллера
Встроенный отладчик debugWIRE
Внутрисистемное программирование через SPI порт
Внешние и внутренние источники прерывания
Режимы пониженного потребления Idle, Power-down и Standby
Усовершенствованная схема формирования сброса при включении
Программируемая схема обнаружения кратковременных пропаданий питания
Встроенный откалиброванный генератор
- Порты ввода - вывода и корпусное исполнение
18 программируемых линий ввода - вывода
20 выводной PDIP, 20 выводной SOIC и 32 контактный MLF корпуса
- Диапазон напряжения питания
от 1.8 до 5.5 В
- Рабочая частота
0 - 16 МГц
- Потребление
Активный режим:
300 мкА при частоте 1 МГц и напряжении питания 1.8 В
20 мкА при частоте 32 кГц и напряжении питания 1.8 В
Режим пониженного потребления
0.5 мкА при напряжении питания 1.8 В
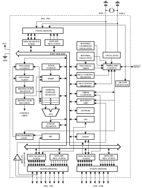
Блок- схема ATtiny2313:

Расположение выводов ATtiny2313:

Общее описание:
ATtiny2313 - низкопотребляющий 8 битный КМОП микроконтроллер с AVR RISC архитектурой. Выполняя команды за один цикл, ATtiny2313 достигает производительности 1 MIPS при частоте задающего генератора 1 МГц, что позволяет разработчику оптимизировать отношение потребления к производительности.
AVR ядро объединяет богатую систему команд и 32 рабочих регистра общего назначения. Все 32 регистра непосредственно связаны с арифметико-логическим устройством (АЛУ), что позволяет получить доступ к двум независимым регистрам при выполнении одной команды. В результате эта архитектура позволяет обеспечить в десятки раз большую производительность, чем стандартная CISC архитектура.
ATtiny2313 имеет следующие характеристики: 2 КБ программируемой в системе Flash память программы, 128 байтную EEPROM память данных, 128 байтное SRAM (статическое ОЗУ), 18 линий ввода - вывода общего применения, 32 рабочих регистра общего назначения, однопроводный интерфейс для встроенного отладчика, два гибких таймера/счетчика со схемами сравнения, внутренние и внешние источники прерывания, последовательный программируемый USART, универсальный последовательный интерфейс с детектором стартового условия, программируемый сторожевой таймер со встроенным генератором и три программно инициализируемых режима пониженного потребления. В режиме Idle останавливается ядро, но ОЗУ, таймеры/счетчики и система прерываний продолжают функционировать. В режиме Power-down регистры сохраняют свое значение, но генератор останавливается, блокируя все функции прибора до следующего прерывания или аппаратного сброса. В Standby режиме задающий генератор работает, в то время как остальная часть прибора бездействует. Это позволяет очень быстро запустить микропроцессор, сохраняя при этом в режиме бездействия мощность.
Прибор изготовлен по высокоплотной энергонезависимой технологии изготовления памяти компании Atmel. Встроенная ISP Flash позволяет перепрограммировать память программы в системе через последовательный SPI интерфейс или обычным программатором энергонезависимой памяти. Объединив в одном кристалле 8- битное RISC ядро с самопрограммирующейся в системе Flash памятью, ATtiny2313 стал мощным микроконтроллером, который дает большую гибкость разработчика микропроцессорных систем.
ATtiny2313 поддерживается различными программными средствами и интегрированными средствами разработки, такими как компиляторы C, макроассемблеры, программные отладчики/симуляторы, внутрисхемные эмуляторы и ознакомительные наборы. |