КОСМОДРОМ - Электронные компоненты для разработки и производства - Харьков - Украина


 


Как купить...     


 

 

EnglishRussianUkrainian

Обратите внимание: запущена новая версия сайта

Перейти в корзину

Уважаемые покупатели. Обратите внимание на наш график работы - 13 апреля 2026 года - выходной день. Далее работаем по графику.

 

Сенсорные интерфейсы на основе датчиков S-Touch компании
ST Microelectronics

Применение сенсорных клавиатур и экранов для организации пользовательского интерфейса управления электронными устройствами различного назначения позволяет не только повысить надежность этих устройств и снизить их стоимость, но и сделать работу с ними более удобной и наглядной. В данной статье рассматриваются современные решения компании ST Microelectronics в области сенсорных клавиатур и экранов.

смотри так же: датчики прикосновения компании QUANTUM

обратите внимание на то, что эта продукция на складе в Харькове

Линейка контроллеров сенсорных клавиатур включает в себя четыре микросхемы, характеристики которых сведены в таблицу 1.

Таблица 1. Характеристики микросхем контроллеров сенсорных клавиатур

Микросхема

Корпус

Напряжение питания, В

Интерфейс

Количество

смотри весь перечень датчиков серии STMPE

Кнопок

Линий IO

Линий ШИМ

купить - жми по ссылке ниже

STMPE321

QFN12

1,65...1,95

I2C

3

STMPE821

QFN16

2,7...3,6

I2C

8

4

STMPE1208S

QFN40

2,5...5,5

I2C

12

12

STMPE1218

QFN40

2,5...5,5

I2C

12

12

4

 

смотри все датчики прикосновения по ссылке

 

Микросхемы компании ST Microelectronics, поддерживающие сенсорные интерфейсы, можно разделить на два направления:

  • микросхемы, поддерживающие интерфейсы сенсорных клавиатур (Touch Keys);

  • микросхемы, поддерживающие интерфейсы сенсорных экранов (Touch Screen).

Сенсорные клавиши (клавиатуры) по функциональному назначению аналогичны механическим. Однако они не имеют механических подвижных частей. Сенсорная клавиша представляет собой металлическую площадку на печатной плате, покрытую специальным защитным слоем. При касании около площадки ее емкость изменяется (увеличивается), что фиксируется контроллером. Механическое замыкание каких-либо контактов в таких датчиках отсутствует. На рис. 1 представлена демонстрационная плата STEVAL-ICB001V1 на базе микросхемы STMPE1208. Большинство контроллеров сенсорных клавиш поддерживает, непосредственно, кнопки (button), линейные и круговые полосы прокрутки (slider и wheel, соответственно).

   

Отладочная плата сенсорной клавиатуры STEVAL-ICB001V1

  Отладочная плата STEVAL-ICB003V1

   

Сенсорные экраны состоят из отображающего экрана, на котором формируется изображение органов управления и другая информация, и прозрачной сенсорной панели, устанавливаемой перед экраном.

Сенсорные панели позволяют определять координаты точки прикосновения в любой области экрана. В зависимости от этих координат компьютер принимает решение об активации какого-либо органа управления, изображенного на экране (принцип, аналогичный действию компьютерной мыши).

Рассмотрим основные преимущества сенсорных устройств по сравнению с традиционными клавиатурными интерфейсами.

Первое. Сенсорные клавиатуры и экраны не содержат механических подвижных узлов, что повышает их надежность, срок службы и снижает стоимость конечного изделия, поскольку исключаются затраты на приобретение механических кнопок, операции сборки и установки клавиатуры.

Второе. Сенсорные экраны предполагают использование графического интерфейса пользователя (Graphical User Interface, GUI), то есть комплекса средств, предназначенных для взаимодействия пользователя с устройством. Интерфейс GUI основан на представлении объектов и функций в виде графических компонентов экрана (окон, кнопок, полос прокрутки и т. п.). Этот интерфейс в настоящее время является неотъемлемой частью современных электронных устройств. В принципе, GUI не предполагает обязательного использования сенсорных элементов управления - в первых его применениях (операционные системы и прикладные программы персональных компьютеров) доступ к объектам осуществлялся, главным образом, с помощью компьютерной мыши. Однако применение сенсорных экранов позволяет эффективно реализовать механизмы GUI в тех приложениях, где применение механической клавиатуры или манипуляторов затруднительно и/или экономически нецелесообразно.

Третье. Сенсорные экраны выигрывают в габаритах по сравнению с механическими клавиатурами или другими устройствами позиционирования (джойстик, трекбол и т.п.), лучше интегрируются в конструкцию конечного устройства и выглядят более привлекательно с точки зрения дизайна.

В этом смысле показательным является конструктивное исполнение мобильных электронных устройств. Габаритные размеры сотовых телефонов определяются, в первую очередь, размерами клавиатуры, и, во вторую, размерами экрана (жидкокристаллического индикатора). Увеличение размеров экрана при сохранении габаритных размеров телефона - объективная тенденция. Однако увеличить размеры экрана за счет уменьшения клавиатуры нереально - кнопки должны хоть как-то соответствовать размерам пальца. Отсюда два возможных варианта: применение выдвижной (откидывающейся) клавиатуры с механическими клавишами или применение сенсорного экрана и интерфейса GUI. Применение сенсорного экрана является существенно более эффективным способом снижения размеров устройства, поскольку, во-первых, экран и «клавиатура» совмещены и, во-вторых, применение стилуса (своего рода пера для касания экрана) позволяет значительно уменьшить размеры «кнопок» на экране. Излишне говорить о том, что реализация полной клавиатуры или графического интерфейса в мобильных устройствах (например, в смартфонах и PDA) возможна только с использованием сенсорного экрана.

Четвертое. Для пользователя работа с прибором, реализующим графический интерфейс, интуитивно более понятна по сравнению с приборами, использующими механическую клавиатуру. При работе с GUI «клавиатура», прорисованная на экране, является контекстно-ориентированной, то есть отображает только те «виртуальные» элементы управления (кнопки, полосы прокрутки, надписи, индикаторы и т.д.), обращение к которым имеет смысл в текущем состоянии устройства.

Механическая клавиатура вполне материальна: клавиши не исчезают и не появляются, а надписи, выгравированные на панели, не меняются в зависимости от контекста. Количество и назначение клавиш определяется функциями управления во всех возможных режимах работы. При этом пользователь должен помнить назначение многофункциональных клавиш в различных контекстах, а также те клавиши, которые не используются в текущем контексте и нажатие, на которые должно игнорироваться.

Пятое. Во многих приложениях (устройства промышленной автоматики, портативные приборы, медицинская техника и т.п.) использование GUI является желательным, но использование традиционной компьютерной периферии (мышь, клавиатура) весьма затруднительно по многим причинам. В этом случае сенсорный экран является оптимальным решением. Достоинством последнего является также возможность работы при слабой освещенности и даже в полной темноте без дополнительной подсветки, так как сенсорные экраны, как правило, имеют встроенную подсветку.

Шестое. Отдельно следует отметить достоинства применения сенсорных экранов в промышленной аппаратуре, приборах, работающих в тяжелых условиях эксплуатации, и вандалоустойчивых устройствах. Клавиатуры и манипуляторы с защитой от пыли, влаги (например, категория IP65) и агрессивных сред, безусловно, существуют. Однако они достаточно дороги, менее удобны в работе (по сравнению с офисной компьютерной периферией) и имеют меньший ресурс. Применение в подобной аппаратуре сенсорных экранов позволяет реализовать защиту от пыли, влаги, агрессивных сред, механических ударов и т.д. при разумной цене конечного устройства.

Рассмотрим основные приложения, использующие сенсорные экраны.

Мобильная электроника. Механическая клавиатура имеет право на жизнь исключительно в приборах с минимальным числом используемых функций (например, простые мобильные телефоны или MP3-плейеры). Повышение функциональности неминуемо приводит к использованию сенсорного экрана и стилуса. В качестве аргумента: среда Windows 3.11 предполагала возможность работы без мыши - только с клавиатурой. Многие ли пробовали работать в таком режиме? Многим ли такой режим показался удобным?

Банкоматы. Большинство моделей банкоматов (устройств для автоматизированной выдачи наличных денег с использованием платежных карт) используют механическую клавиатуру. Причины, по которым она используется, носят, скорее, не технический, а функциональный характер - возможность скрытого набора pin-кода и снимаемой суммы. В некоторых моделях по краям экрана располагаются механические функциональные клавиши для выбора конкретной операции. Тем не менее, в современных моделях механическая функциональная клавиатура заменяется или дублируется виртуальной клавиатурой на сенсорном экране.

Информационные киоски, то есть автоматизированные устройства, предназначенные для предоставления справочной информации. Поскольку вводимая информация не является конфиденциальной, то механическая клавиатура в большинстве случаев отсутствует - выбор операции осуществляется нажатием виртуальной кнопки на экране. Места установки: банки, медицинские учреждения, гостиницы, выставки, музеи, бизнес-центры.

Промышленная, научная и медицинская аппаратура. Как правило, подобная аппаратура достаточной степени сложности представляет собой встраиваемый компьютер и совокупность контроллеров периферийных устройств (как общего, так и специального назначения). При этом выполняется одна программа, которая запускается автоматически, независимо от оператора. Потребительские преимущества использования графического интерфейса в подобной аппаратуре рассмотрены выше. Применение стандартной мыши и клавиатуры нежелательно, особенно если речь идет не об отдельном приборе, а об их совокупности, объединенной в систему. Целесообразность использования сенсорных экранов очевидна.

В настоящее время сенсорные экраны используют различные технологии, а именно:

  • Четырехпроводный резистивный экран.

  • Пятипроводный резистивный экран.

  • Емкостные экраны.

  • Проекционно-емкостные экраны.

  • Экраны на поверхностно-акустических волнах.

  • Индукционные экраны.

  • Сенсорные экраны на сетке инфракрасных лучей.

  • Тензометрические экраны.

Микросхемы контроллеров сенсорных экранов компании ST Microelectronics поддерживают резистивную технологию. Рассмотрим ее особенности подробнее.

Четырехпроводный резистивный сенсорный экран состоит из стеклянной панели и гибкой пластиковой мембраны (см. рисунок 2).

 

Принцип действия четырехпроводного резистивного сенсорного экрана

 

Рис. 2. Принцип действия четырехпроводного резистивного сенсорного экрана 

И на панель, и на мембрану нанесено резистивное покрытие. Пространство между стеклом и мембраной заполнено микроизоляторами, которые равномерно распределены по активной области экрана и надежно изолируют проводящие поверхности. Когда на экран нажимают, панель и мембрана на небольшой окрестности замыкаются, и контроллер с помощью аналогово-цифрового преобразователя регистрирует изменение сопротивления и преобразует его в координаты прикосновения (X и Y). В общих чертах алгоритм считывания таков:

  • На верхний электрод подается напряжение питания, а нижний заземляется. Левый и правый электроды соединяются, и на них проверяется напряжение. Это напряжение соответствует Y-координате экрана.

  • Аналогично на левый и правый электрод подаются питание и «земля», с верхнего и нижнего электродов считывается X-координата.

Пятипроводной экран более надежен за счет того, что резистивное покрытие на мембране заменено проводящим. На заднем стекле нанесено резистивное покрытие с четырьмя электродами по углам (см. рисунок 3).

 

Принцип действия пятипроводного резистивного сенсорного экрана

 

Рис. 3. Принцип действия пятипроводного резистивного сенсорного экрана

Изначально все четыре электрода заземлены, а мембрана «подтянута» резистором к шине питания. Уровень напряжения на мембране постоянно отслеживается аналогово-цифровым преобразователем. Когда ничто не касается сенсорного экрана, напряжение на мембране равно напряжению питания.

Как только на экран нажимают, контроллер отслеживает изменение напряжения мембраны и начинает вычислять координаты касания следующим образом:

  • На два правых электрода подается напряжение питания, а левые заземляются. Напряжение на экране соответствует X-координате.

  • Y-координата считывается подключением к питанию обоих верхних электродов и к «земле» обоих нижних.

Резистивные сенсорные экраны дешевы и обладают максимальной стойкостью к загрязнению. Резистивные экраны реагируют на прикосновение любым твердым предметом: рукой (голой или в перчатке), пером и т.д. Их используют везде, где вандализм и низкие температуры (ниже -20°С) полностью исключены: для автоматизации промышленных процессов, в медицине, в банковской сфере и сфере обслуживания, в мобильной электронике (КПК). Лучшие образцы обеспечивают точность 4096х4096 пикселей.

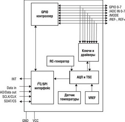
Рассмотрим подробнее контроллеры сенсорных экранов компании ST Microelectronics. Линейка этих устройств включает две микросхемы: STMPE610 и STMPE811. На рисунке 4 представлена структурная схема STMPE811 (отличия от STMPE610 незначительны и будут рассмотрены ниже).

 

Структурная схема контроллера сенсорного экрана STMPE811

 

Рис. 4. Структурная схема контроллера сенсорного экрана STMPE811 

Основные свойства:

  • Напряжение питания от 1,8 до 3,3В.

  • Количество линий ввода-вывода- 8 (для STMPE610 - 6).

  • Интерфейс связи с хост-контроллером I2C или SPI.

  • Выход прерывания при обнаружении касания.

  • 8-канальный 12-разрядный АЦП (для STMPE610- 6-канальный).

  • Буфер на 128 отсчетов по 32 бита каждый.

  • Корпус QFN16 размером 3х3мм.

Линии ввода-вывода используются для подачи напряжения на электроды X+, X-, У+, Y- и считывания напряжения с мембраны. Управление контроллером осуществляется посредством программно-доступных регистров (около 50 адресов), формат которых приведен в материалах компании ST Microelectronics [1] и [2].

Для связи с контроллером используется интерфейс I2C (включая две линии прерывания - от касания клавиш TK1...TK11 и от изменения линий системного назначения GPIO1...GPIO11). Типичное использование линий GPIO1...GPIO11 - светодиодная подсветка клавиш TK1...TK11.

 

Схема включения контроллера сенсорной клавиатуры STMPE1208S

 

Рис. 5. Схема включения контроллера сенсорной клавиатуры STMPE1208S

Для ознакомления с работой контроллера STMPE1208S компания ST Microelectronics предлагает три типа отладочных плат:

  • Плату STEVAL-ICB001V1, представленную на рисунке1.

  • Сборку плат STEVAL-IHI001V1 и STEVAL-IHI002V1, представленные на рисунке6.

  • Плату STEVAL-ICB003V1, представленную на рисунке7.

 

Отладочные платы STEVAL-IHI001V1

 

Рис. 6. Отладочные платы STEVAL-IHI001V1 и STEVAL-IHI002V1  

Отладочная плата STEVAL-ICB003V1

 

 

Рис. 7. Отладочная плата STEVAL-ICB003V1

В заключение отметим, что перспективы применения клавиатур с механическим замыканием контакта в современных электронных приборах весьма ограничены. Сенсорные клавиатуры - не роскошь, не излишество, а практика современной электроники. Несмотря на, казалось бы, небольшую номенклатуру, компания ST Microelectronics покрывает потребительские ниши от контроллеров простейших клавиатур на три кнопки (STMPE321) до универсальных клавиатур, использующих STMPE1208S.

Что касается контроллеров сенсорных экранов, то ориентация фирмы ST Microelectronics на достаточно дешевые резистивные экраны только на первый взгляд представляется недостатком. Безусловно, такие экраны не предназначены для работы в приборах, устанавливаемых на улице, и не защищены с точки зрения вандализма. Но их основные области применения - мобильная техника, промышленная, научная и медицинская аппаратура, торговое оборудование. Именно эти сферы вносят максимальный вклад в использование сенсорных экранов. Цена в этих приложениях может оказаться решающим аргументом.


Поставляемые компоненты











^ Наверх

Электронные компоненты для разработки и производства. Харьков, Украина

  Украинский хостинг - UNIX хостинг & ASP хостинг

радиошоп, radioshop, радио, радиодетали, микросхемы, интернет, завод, комплектующие, компоненты, микросхемы жки индикаторы светодиоды семисегментные датчики влажности преобразователи источники питания тиристор симистор драйвер транзистор, диод, книга, приложение, аудио, видео, аппаратура, ремонт, антенны, почта, заказ, магазин, интернет - магазин, товары-почтой, почтовые услуги, товары, почтой, товары почтой, каталог, магазин, Internet shop, база данных, инструменты, компоненты, украина, харьков, фирма Космодром kosmodrom поставщики электронных компонентов дюралайт edison opto светодиодное освещение Интернет-магазин радиодеталей г.Харьков CREE ATMEL ANALOG DEVICES АЦП ЦАП