КОСМОДРОМ - Электронные компоненты для разработки и производства - Харьков - Украина
|
Серии источников питания HDR на DIN рейку с
ультра-узкой формой корпуса и полным диапазоном входного напряжения
100-240 В переменного тока 15, 30, 60, 100, 150 Ватт
HDR-15
HDR-30
HDR-60
HDR-100
HDR-150
|
 |
|
Уважаемые покупатели. Обратите внимание на наш график работы - 13 апреля 2026 года - выходной день. Далее работаем по графику. |
|
 |
|










|
|
Параметры
|
LPC2101
|
LPC2102
|
LPC2103
|
|
Flash
|
8K
|
16K
|
32K
|
|
RAM
|
2K
|
4K
|
8K
|
|
АЦП
|
8-ch ADC10
|
8-ch ADC10
|
8-ch ADC10
|
|
Таймеры/каналов захвата-сравнения
|
2(32bit)/7+7
2(16bit)/7+3
|
2(32bit)/7+7
2(16bit)/7+3
|
2(32bit)/7+7
2(16bit)/7+3
|
|
UART
|
2
|
2
|
2
|
|
I2C
|
2
|
2
|
2
|
|
SPI
|
2
|
2
|
2
|
|
Количество таймеров*
|
6
|
6
|
6
|
|
Максимальная частота МГц
|
70
|
70
|
70
|
*-включая
сторожевой таймер и часы реального времени
Особенности:
-
16/32
битный ARM7TDMI-S микропроцессор.
-
Встроенное
2/4/8 кБ статическое ОЗУ.
-
Встроенная
8/16/32 кБ программная Flash память. 128 битный интерфейс/акселератор, способные
работать в высокоскоростном режиме с тактовой частотой 70 МГц.
-
Возможность
программирования внутри системы (ISP) и внутри приложения (IAP) при помощи
встроенной программы-загрузчика. Время программирования одной 256 байтной
линии Flash памяти 1 мс. Стирание одного сектора или всей памяти за 100 мс.
-
Векторный
контроллер прерываний с перестраиваемыми приоритетами и адресами векторов
прерывания.
-
Интерфейс
EmbeddedICE-RT активизации точек останова и точек просмотра. Подпрограмма
обработки прерывания может продолжать выполняться, в то время как основной
программный модуль отлаживается встроенной программой RealMonitor.
-
Последовательные
интерфейсы:
-
10-разрядный
АЦП с 8-ю входными каналами и временем преобразования менее 2.44 мкс/канал.
-
Два
32-разрядных таймера (7 каналов захвата/сравнения), два 16-разрядных таймера
(7 каналов захвата/3 канала сравнения), сторожевой таймер.
-
Мало-потребляющие
часы реального времени с независимым питанием и отдельным входом тактирования
32 КГц.
-
До
тридцати двух линий портов ввода - вывода общего применения, совместимых с
5 В логикой, в миниатюрном 7х7 мм 48 контактном LQFP и 44 контактном PLCC
(только LPC2103) корпусе.
-
Встроенная
система ФАПЧ позволяет обеспечить максимальную частоту тактовых импульсов
ЦП 70 МГц, входной частотой от 10 МГц до 25 МГц и вуременем стабилизации от
100 мкс.
-
Встроенный
генератор, работающий с внешним кварцем, имеющий рабочий частотный диапазон
от 1 МГц до 25 МГц.
-
Три
режима пониженного потребления: ждущий режим , режим пониженного потребления
энергии с работающими часами реального времени и режим пониженного потребления
энергии.
-
Индивидуальное
включение/отключение периферийных модулей для оптимизации потребления.
-
Запуск
из дежурного режима сигналом внешнего прерывания или часами реального времени.
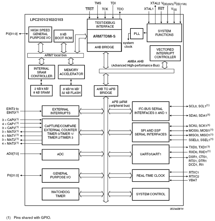
Архитектура LPC2101/LPC2102/LPC2103:
Расположение выводов LPC2101/LPC2103/LPC2103 (корпус
LQFP48):
Расположение выводов LPC2103 (корпус PLCC44):

|
|
Поставляемые компоненты










|
^ Наверх DIV >
радиошоп, radioshop, радио, радиодетали, микросхемы, интернет, завод,
комплектующие, компоненты, микросхемы жки индикаторы светодиоды семисегментные датчики влажности преобразователи
источники питания тиристор симистор драйвер транзистор, диод, книга, приложение,
аудио, видео, аппаратура, ремонт, антенны, почта, заказ, магазин,
интернет - магазин, товары-почтой, почтовые услуги, товары, почтой, товары
почтой, каталог, магазин, Internet shop, база данных, инструменты, компоненты,
украина, харьков, фирма Космодром kosmodrom поставщики электронных компонентов дюралайт edison opto светодиодное освещение Интернет-магазин радиодеталей г.Харьков CREE ATMEL ANALOG DEVICES АЦП ЦАП