|
КОСМОДРОМ - Электронные компоненты для разработки и производства - Харьков - Украина
|
Уважаемые покупатели. Обратите внимание на наш график работы - 13 апреля 2026 года - выходной день. Далее работаем по графику. |
|
 |
|













|
|
Параметры
|
LPC2141
|
LPC2142
|
LPC2144
|
LPC2146
|
LPC2148
|
|
Flash
|
32K
|
64K
|
128K
|
256K
|
512K
|
|
RAM
|
8K
|
16K
|
16K
|
32K +8K
|
32K +8K
|
|
USB RAM
|
2K
|
2K
|
2K
|
2K
|
2K
|
|
АЦП
|
6-ch ADC10
|
6-ch ADC10
|
2(6+8)-ch ADC10
|
2(6+8)-ch ADC10
|
2(6+8)-ch ADC10
|
|
ЦАП
|
-
|
DAC10
|
DAC10
|
DAC10
|
DAC10
|
|
Таймеры/каналов захвата-сравнения
|
2(32bit)/4+4
|
2(32bit)/4+4
|
2(32bit)/4+4
|
2(32bit)/4+4
|
2(32bit)/4+4
|
|
UART
|
2
|
2
|
2
|
2
|
2
|
|
I2C
|
2
|
2
|
2
|
2
|
2
|
|
SPI
|
2
|
2
|
2
|
2
|
2
|
|
Количество таймеров*
|
4
|
4
|
4
|
4
|
4
|
|
Максимальная частота МГц
|
60
|
60
|
60
|
60
|
60
|
*-включая
сторожевой таймер и часы реального времени
Особенности:
-
16/32-разр.
микроконтроллер ARM7TDMI-S в корпусе LQFP64.
-
Встроенное
статическое ОЗУ от 8 до 40 кБ.
-
Встроенная
32/64/128/256/512 кБ программная Flash память. 128-разрядный интерфейс/акселератор
позволяет работать на частоте 60 МГц.
-
Возможность
программирования внутри системы (ISP) и внутри приложения (IAP) при помощи
встроенной программы-загрузчика. Время программирования одной 256 байтной
линии Flash памяти 1 мс. Стирание одного сектора или всей памяти за 400 мс.
-
Векторный
контроллер прерываний с перестраиваемыми приоритетами и адресами векторов
прерывания.
-
Встроенный
интерфейс ICE-RT позволяет реализовать точки останова и ожидания. Подпрограммы
обработки прерываний могут продолжать выполнение, пока основная программа
находится в отладке через имеющуюся в микроконтроллере программу RealMonitor™.
-
USB
2.0 Full-speed контроллер с 2 кБ буферного ОЗУ. В LPC2146/48 доступ к 8 кБ
блоку ОЗУ для USB осуществляется через контроллер прямого доступа к памяти
(DMA).
-
Последовательные
интерфейсы:
-
Один
(LPC2141/42) или два (LPC2144/46/48) 10-разрядныx АЦП с 6/14-ю входными каналами
и временем преобразования менее 2.44 мкс/канал.
-
Одиночный
10-разрядный ЦАП (LPC2142/44/46/48).
-
Два
32-разрядных таймера (4 канал захвата - 4 сравнения), модуль ШИМ (6 выходов),
сторожевой таймер.
-
Мало-потребляющие
часы реального времени с независимым питанием и отдельным входом тактирования
32 КГц.
-
До
сорока пяти линий портов ввода - вывода общего применения, совместимых с 5
В логикой, в миниатюрном 64 контактном LQFP корпусе. Из них 21 вывод может
быть входами внешнего прерывания.
-
Максимальная
тактовая частота 60 МГц, вырабатываемая встроенным генератором ФАПЧ с временем
стабилизации 100 мкс.
-
Встроенный
генератор, работающий с внешним кварцем, имеющий рабочий частотный диапазон
от 1 МГц до 25 МГц.
-
Два
экономичных режима – ждущий и пониженного потребления энергии.
-
Индивидуальное
включение/отключение периферийных модулей для оптимизации потребления.
-
Запуск
из дежурного режима сигналом внешнего прерывания или по прерыванию модуля
детектора уровня питания (BOD).
-
Единое
питание с сигналом сброса по включению питания (POR) и модуля детектора уровня
питания (BOD).
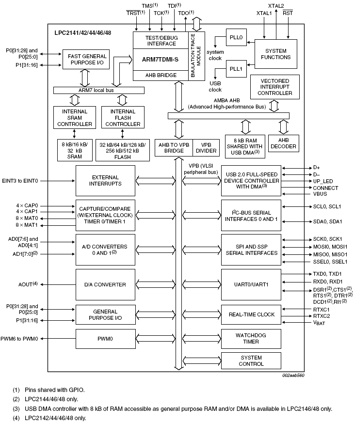
Архитектура
LPC2141/LPC2142/LPC2144/LPC2146/LPC2148:
Назначение выводов LPC2141:
Назначение выводов LPC2142:
Назначение выводов LPC2144/LPC2146/LPC2148:
|
|
Поставляемые компоненты










|
^ Наверх DIV >
радиошоп, radioshop, радио, радиодетали, микросхемы, интернет, завод,
комплектующие, компоненты, микросхемы жки индикаторы светодиоды семисегментные датчики влажности преобразователи
источники питания тиристор симистор драйвер транзистор, диод, книга, приложение,
аудио, видео, аппаратура, ремонт, антенны, почта, заказ, магазин,
интернет - магазин, товары-почтой, почтовые услуги, товары, почтой, товары
почтой, каталог, магазин, Internet shop, база данных, инструменты, компоненты,
украина, харьков, фирма Космодром kosmodrom поставщики электронных компонентов дюралайт edison opto светодиодное освещение Интернет-магазин радиодеталей г.Харьков CREE ATMEL ANALOG DEVICES АЦП ЦАП