|
КОСМОДРОМ - Электронные компоненты для разработки и производства - Харьков - Украина
|
Уважаемые покупатели. Обратите внимание на наш график работы - 13 апреля 2026 года - выходной день. Далее работаем по графику. |
|
 |
|







|
|
Параметры
|
LPC2212
|
LPC2214
|
|
Flash
|
128K
|
256K
|
|
RAM
|
16K
|
16K
|
|
АЦП
|
8-ch ADC10
|
8-ch ADC10
|
|
Таймеры/каналов захвата-сравнения
|
2(32bit)/4+4
|
2(32bit)/4+4
|
|
UART
|
2
|
2
|
|
I2C
|
1
|
1
|
|
SPI
|
2
|
2
|
|
Количество таймеров*
|
4
|
4
|
|
Максимальная частота МГц
|
60
|
60
|
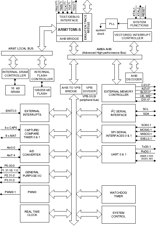
Особенности:
-
16/32-разр.
микроконтроллер ARM7TDMI-S в корпусе LQFP144
-
16
кбайт встроенного статического ОЗУ и 128/256 кбайт встроенной флэш-памяти
программ. 128-разр. интерфейс/ускоритель позволяет работу на частоте 60 МГц
-
Внутрисистемное
программирование (ISP) поддерживается встроенной программой программатора
в загрузочном секторе. Программирование страницы из 512 байт требует 1 мс.
Стирание одного сектора или всей памяти длится 400 мс.
-
Встроенные
интерфейсы ICE-RT и Trace позволяют отслеживать выполнение программы в реальном
масштабе времени через имеющуюся в микроконтроллере программу RealMonitor™.
-
8-канальный
10-битный АЦП со временем преобразования 2,4 мкс.
-
Два
32-разр. таймера (с 4 каналами захвата и 4 каналами сравнения), блок ШИМ (6
выходов), часы реального времени и сторожевой таймер.
-
Несколько
последовательных интерфейсов: два USART(16C550), высокоскоростной I2C
(400 кбит/с) и два SPI.
-
Векторный
контроллер прерываний с конфигурируемыми приоритетами и адресами векторов.
-
Конфигурируемый
интерфейс внешней памяти с 4 банками, каждый из которых имеет размер 16 Мбит
с разрядностью данных 8/16/32.
-
До
112 универсальных линий ввода-вывода (поддерживают 5В уровни). Из них 9 выводов
могут быть входами прерывания по фронту или по уровню.
-
Максимальная
тактовая частота 60 МГц, вырабатываемая встроенным генератором ФАПЧ с временем
стабилизации 100 мкс.
-
Встроенный
генератор с рабочим диапазоном от 1 до 30 МГц.
-
Два
экономичных режима – ждущий и пониженного потребления энергии.
-
Вывод
процессора из режима пониженного потребления внешним прерыванием.
-
Индивидуальное
включение/отключение периферийных устройств для оптимизации потребляемой мощности.
-
Двойное
напряжение питания:
-
Питание ядра микропроцессора от 1,65 В
до 1,95 В (1,8 ± 0,15 В).
-
Питание периферии от 3,0 до 3,6 В (3,3
В ± 10%) с устойчивостью к напряжению +5 В
Архитектура LPC2212/LPC2214:
Расположение выводов LPC2212/LPC2214 (корпус
LQFP144):

|
|
Поставляемые компоненты










|
^ Наверх DIV >
радиошоп, radioshop, радио, радиодетали, микросхемы, интернет, завод,
комплектующие, компоненты, микросхемы жки индикаторы светодиоды семисегментные датчики влажности преобразователи
источники питания тиристор симистор драйвер транзистор, диод, книга, приложение,
аудио, видео, аппаратура, ремонт, антенны, почта, заказ, магазин,
интернет - магазин, товары-почтой, почтовые услуги, товары, почтой, товары
почтой, каталог, магазин, Internet shop, база данных, инструменты, компоненты,
украина, харьков, фирма Космодром kosmodrom поставщики электронных компонентов дюралайт edison opto светодиодное освещение Интернет-магазин радиодеталей г.Харьков CREE ATMEL ANALOG DEVICES АЦП ЦАП