|
Самые маленькие в мире
8-разрядные микроконтроллеры серии
PIC10F20x от MICROCHIP
|
PIC10F200/202/204/206 – недорогие и
производительные 8-разрядные Flash-микроконтроллеры с полностью
статической CMOS-архитектурой. В их основе лежит RISC-ядро с
только 33 однословными инструкциями, выполняемыми за один цикл
длительностью 1мкс, кроме программного ветвления, для которого
необходимо два цикла. Высокая симметричность инструкций
12-разрядной ширины позволяет добиться компрессии кода 2:1 по
сравнению с другими 8-разрядными микроконтроллерами в этом
классе. Простота использования и запоминания набора таких
инструкций значительно сокращает сроки разработки конечного
устройства.
PIC10F200/202/204/206 содержат дополнительные блоки, такие как
POR (запуск по сбросу) и DTR (таймер системного сброса),
устраняющие необходимость во внешней цепи сброса. Режим INTRC
внутреннего генератора экономит ограниченное количество I/O-линий.
Также доступны экономичный режим «сна», сторожевой таймер (WDT)
и функция защиты кода.
Отличительные особенности:
Производительное RISC-ядро
33 однословных
инструкции;
все инструкции
исполняются за один цикл, команды ветвления – за два цикла;
12-разрядная ширина
инструкции;
двух уровневая глубина
аппаратного стека;
прямая, косвенная и
относительная адресация для данных и инструкций;
8-разрядная ширина
маршрута;
8 аппаратных регистров
для специальных функций;
скорость работы:
- 4МГц внутренний тактовый генератор,
- время исполнения инструкции 1мкс.
Специальные функции
прецизионный внутренний
генератор 4МГц с точностью ±1%;
внутрисхемное
программирование (ICSP);
внутрисхемная отладка (ICD);
включение после сброса
(POR);
таймер системного
сброса (DRT);
сторожевой таймер (WDT)
со встроенным RC-генератором;
защита программного
кода;
мультиплексированный
вход MCLR;
внутренние
подтягивающие резисторы на I/O-выводах;
режим «сна»;
запуск из режима «сна»
при смене состояния на входах.

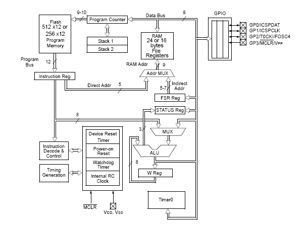
Функциональная схема PIC10F200 и
PIC10F202
Периферия
четыре вывода I/O-линий:
- три вывода I/O-линий с индивидуальным контролем
направленности,
- один вывод работает только как выход,
- большой втекающий и вытекающий ток I/O-линий для прямого
управления светодиодами;
8-разрядный
таймер/счётчик реального времени (TMR0) с 8-разрядным
программируемым предделителем;
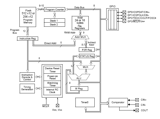
один компаратор
(PIC10F204/206):
- внутренний источник опорного напряжения,
- доступ извне к обоим входам и выходу компаратора.

Функциональная схема PIC10F204 и
PIC10F206
Экономичная CMOS-технология
ток потребления в
рабочем режиме не более 350мкА при 2В, 4МГц;
ток потребления в
режиме останова: 100нА при 2В;
Flash-память программ:
256байт (PIC10F200/204) и 512байт (PIC10F202/206);
память данных :16байт
(PIC10F200/204) и 24байт (PIC10F202/206);
гарантируемое число
циклов перезаписи Flash-памяти – 100000, срок сохранности данных
более 40 лет;
полностью статическая
структура;
широкий диапазон
напряжения питания: 2,0В...5,5В;
широкий температурный
диапазон:
- промышленный: -40°C...+85°C,
- расширенный: -40°C...+125°C.
Области применения: как замена связующей логики
в разработках ASIC и печатных плат; как замена стандартной
логики и времязадающих компонентов или традиционных механических
переключателей и таймеров.
|